联系我们
24小时服务热线:
158-5106-6698
公司电话:0515-88404040
公司传真:0515-88410418
客服QQ:348083717
邮箱:348083717@qq.com
地址:盐城市城南新区新都街道中南世纪城一期2B2-414--417室
六安涌达建工分享:烟囱安装避雷针施工方案(图)-安全施工、售后无忧
发布时间:2023-05-17
来源:涌达建工 浏览次数:16665
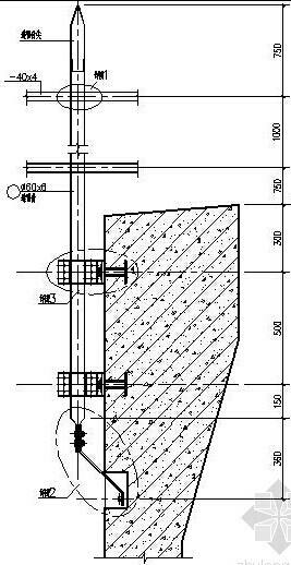
烟囱安装避雷针施工方案
1、技术措施:(1)、该工程采用不搭脚手架,高空悬吊座式登高板施工操作。作业时用φ25的钢筋做成“S”型钢钩在烟囱下层平台固定位置固定紧,在“S”形钢钩挂上滑轮再用一根φ18m/m的白棕绳穿过滑轮并在一固定位置锚紧,白棕绳的另一端固定一个“U”形铆锁,活动座式登高板固定在“U”形铆锁上,施工人员在活动座式登高板上进行操作.
2、安装避雷针施工方案
(1)准备工作
①核实避雷针高度及分段钢筋架之间的对应安装位置。
②平整场地,把枕木均匀地摆到避雷针组装地点。避雷针每段钢筋架下设两个支点,并大致找平。
③核实预埋螺栓与避雷针底座螺孔尺寸,允许误差为±2mm。检查预埋螺栓露出基础面高度是否符合规定。
(2)避雷针组装
①把避雷针各段钢筋架顺序摆到枕木上,使三根主筋相互对准。
②调整三根主筋使之分别在三条直线上。此项工作要反复进行,直到调直为止。
③在避雷针钢筋架每条主筋之间的连接处对称放置2根连接圆钢(加强筋),连接圆钢规格应与下段钢筋架主筋一致,具体选用见表4。
④焊接避雷针钢筋架之间的连接圆钢。除去焊渣,刷涂防锈漆和调和漆各两道。
(3)组立及调整
①在避雷针根部用铁线绑扎1~2根枕木,作为配重,以减小避雷针起吊时的倾斜度。
②在避雷针绑扎吊绳的钢结构部位绑扎2~3根杉木杆。
③在避雷针的适当位置栓绑吊绳和晃绳,尔后进行起吊、就位。
④避雷针就位后应及时拧紧底座螺栓,然后摘掉吊钩,拆除吊绳、晃绳、杉木杆和枕木。
⑤用线坠分别对避雷针三个棱边进行垂直度检查。如不垂直可在避雷针底座与基础面之间加入垫铁进行调整。
⑥紧固避雷针底座连接螺栓并施加防松措施。
(4)基础抹帽
1)检查接地线及投光灯电缆保护管是否按施工图要求敷设并焊接可靠。
2)清理避雷针基础面及底座上的杂物,并用水冲洗干净。
3)用150#混凝土抹帽,顶部呈球面状,球面点至基础面高度为200mm,以能覆盖基础螺栓为宜,并要求光滑、易散水。
4)覆盖草袋,浇水进行养护。
5)填写安装技术记录。
标 准:
1、避雷针的规格、型号、高度、安装位置应符合设计要求。
2、避雷针连接处焊接的连接圆钢规格应符合要求。焊缝应平整,不应有裂缝、夹渣、气孔等缺陷,焊接加强筋应符合钢筋搭接规定;采用法兰螺栓进行连接的避雷针,法兰螺栓连接处应焊接跨接接地线。
3、避雷针各部金属表面防腐层应完整。
4、避雷针应安装牢固,整体垂直,倾斜度不应大于整体高度的3‰。
声明:本网站发布的内容(图片、视频和文字)以原创、转载和分享网络内容为主,如果涉及侵权请尽快告知,我们将会在第一时间删除。文章观点不代表本网站立场,如需处理请联系客服。电话:158-5106-6698,185-5154-0999;邮箱:348083717@qq.com。

扫描添加好友
免费提供:防水堵漏施工方案

扫描二维码
访问涌达防水堵漏公司手机端
已帮助
16665人
16665人
您的鼓励是作者最大的动力
